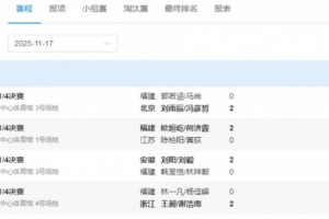
体育资讯11月17日讯 全运会羽毛球男双四分之一决赛全部结束,刘雨辰/冯彦哲、刘阳/刘毅、欧烜屹/何济霆、王昶/谢浩南四队选手挺进四强。
男双半决赛对阵情况如下:
刘雨辰/冯彦哲 VS 刘阳/刘毅
欧烜屹/何济霆 VS 王昶/谢浩南
男双四分之一决赛比分详情:
刘雨辰/冯彦哲2-0郭若涵/马尚
欧烜屹/何济霆2-0陈柏阳/黄荻
刘阳/刘毅2-0刘阳/刘毅
王昶/谢浩南2-0林一凡/杨佳峄
上一篇: 全运会羽毛球女双半决赛:贾一凡/张驰vs黄东萍/谭宁
下一篇: 祝早日康复!石宇奇社媒:只想说八个字__,__!请大家放心!
德雷兹加vs蒂瓦特阿森纳
太阳vs独行侠直播
灰熊vs开拓者
英超曼城vs利物浦
詹姆斯vs小飞侠
青岛西海岸vs成都蓉城
浙江vs北京国安
法甲里尔vs梅斯